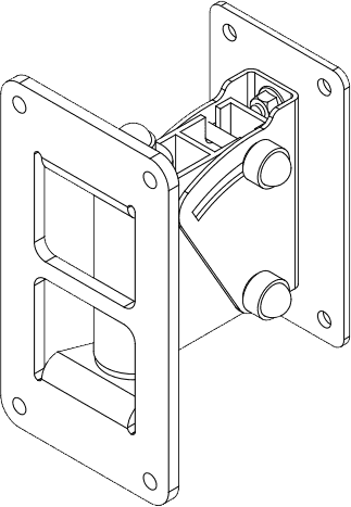
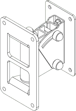
Wall mount for 1 P10

Artno: 564161

1 619 kr (inkl. mva)

Beskrivelse

Spesifikasjon

Our website uses cookies. By continuing to surf on the page, you agree to us using cookies. Click here for more information.

I understand